全屏背景
导航菜单
欢迎光临深圳市云敏仪表有限公司!
网站标志
自定内容
专注防爆电器为您提供一站式服务
自定内容
全站搜索
搜索
建立多层次全方位技术交流
和技术支持服务体系高性价比
自定内容
免费服务热线:
18589027622  18589027599    
 
产品中心
当前位置
产品详情
陶瓷电容小量程防腐压力变送器
该系列压力变送器选用扩散硅,陶瓷压阻,应变片压力等可选配的传感器,经过高可靠性的放大电路及精密温度补偿,

将被测介质的压力转换成标准电信号,高质量的传感器及完善的装配工艺确保了该产品的优异质量和最佳性能。

产品各种参数均可订制,能够最大限度的满足客户的需要,适用于各种测量控制设备、蚀刻工艺产线设备的配套使用。
< >
  • 产品介绍
  • 选型指南
  • 资料下载

      产品描述

    该压力变送器选用陶瓷电容压力传感器,经过高可靠性的放大电路及精密温度补偿,

    将被测介质的压力转换成标准电信号,高质量的传感器及完善的装配工艺确保了

    该产品的优异质量和性能。该产品各种参数均可订制,能够最大限度的满足客户的需要,

    广泛适用于烟草、矿业、等行业使用。

    产品特点

  · 抗冲击 兼容介质温度范围宽  耐颗粒物   绝压低压量程性能优异

  · 抗干扰强,长期稳定性好

  · 安装方便

  · 采用激光打,产品可溯源

     产品应用

   烟草烟丝气动输送

   真空行业


   技术参数

  量程范围: -100KPa~2Mpa

  压力方式: 表压、绝压、密封表压

  测量介质: 与304/316不锈钢兼容的各种液体、气体或蒸汽

  供电电源: 12V-36VDC  

  输出信号: 4~20mA等

  适应温度: -40~125℃(介质)  

  综合精度: ±0.25%FS(典型) 0.5%

  时间漂移: ≤±0.2%FS/年

  温度漂移: ≤±0.05%FS/℃

  补偿温度: 0~70℃

  防护等级: IP65

  过载能力: 1000%FS

     稳定性: ±0.1%FS/年(典型)  ±0.2%FS/年(最大)

   

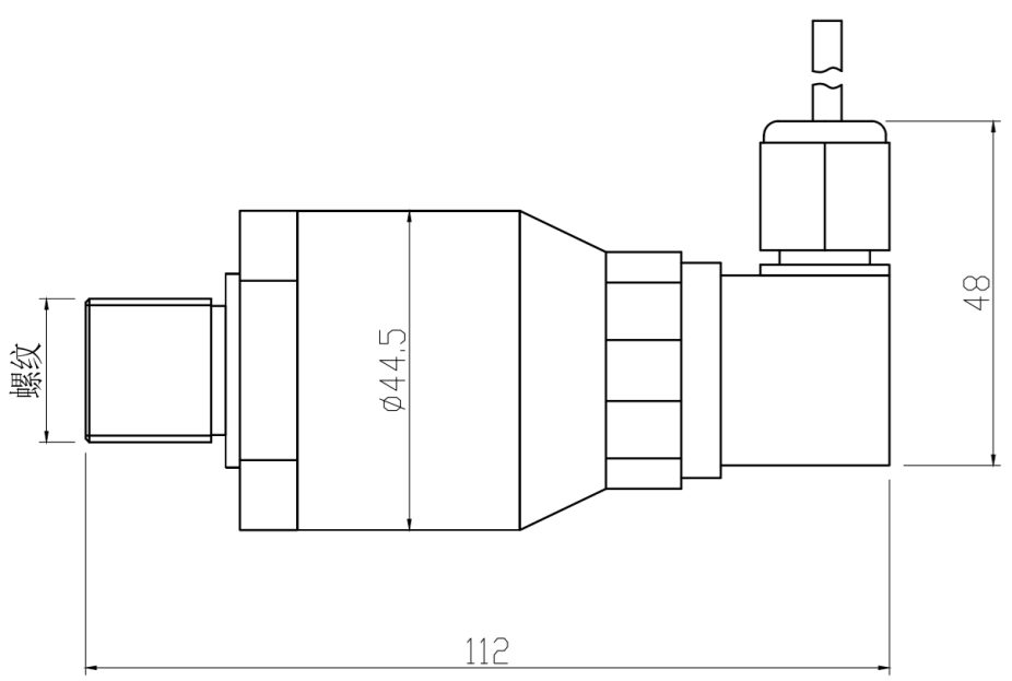
     产品结构(单位:mm)





地址:深圳市宝安区石岩街道罗租社区海谷科技大厦T1栋1-601
电话:0755-33156983
电话:0755-36332965
传真:0755-27380450
扫一扫微信号
联系我们
全屏背景

深圳市云敏仪表有限公司版权所有 
电话:0755-26929525    电话:0755-27380450   传真:0755-27380450   地址:深圳市宝安区石岩街道罗租社区海谷科技大厦T1栋1-601

 粤ICP备2020094638号     海之洋网络提供网站建设